袋式除尘器设备的使用技巧
袋式除尘器设备的使用技巧

咱们所说的袋式除尘器(作用:净化空气)设备就是布袋除尘器设备中的一种。咱们应该对于布袋除尘器设备比较了解了。小编也有和您说过。
袋式除尘器(作用:净化空气)如果使用得到就会有一个长期稳定(解释:稳固安定;没有变动)的运行,但是如果操作控制不当或者是在运行中不注重一些细节,那么就会带来这样那样的问题(Emerson)。
例如:除尘器设备如果使用不当就会造成除尘器糊袋或者出现掉袋的问题,这些问题在日长使用中注重对袋式除尘器设备的维护会好非常多。
袋式除尘器(作用:净化空气)设备日常使用中有哪些使用技巧(Skill)呢
布袋式除尘—布袋式除尘器需按顺序启动
布袋除尘器(作用:净化空气)要使用了,那么需要先接通压缩器到储气罐(gas container)当中,然后接通控制(control)电源,并将排灰装置启动起来了。如果系统当中还有其他的设备(shèbèi),是需要先将下游的设备给启动起来的。
布袋式除尘—布袋式除尘器(作用:净化空气)防止漏气出现
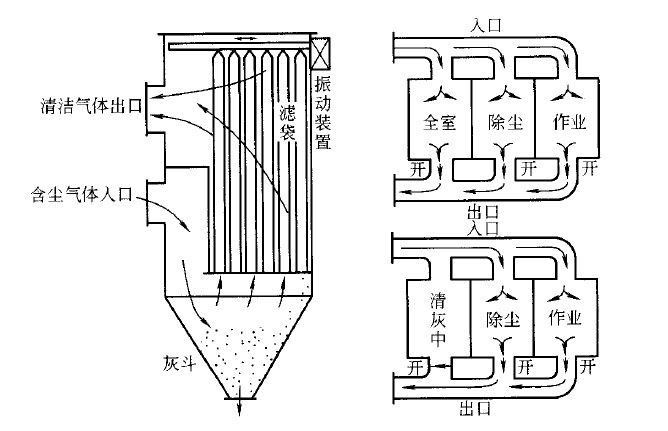
布袋除尘器(作用:净化空气)袋距架的外面是需要套上滤袋(滤材: PE, PP, PTFE,PMIA ,NMO)的,注意(attention)一定要将袋口与导口给压紧了,不能出现漏气的情况(Condition)。除尘器厂家就是把粉尘从烟气中分离出来的设备,除尘器的性能用可处理的气体量、气体通过除尘器时的阻力损失和除尘效率来表达。除尘器厂家使用中要防止气体在袋室内冷却到露点以下,特别是在负压下使用袋式除尘器更应注意。由于其外壳常常会有空气漏入,使袋室气体温度低于露点,滤袋就会受潮,致使灰尘不是松散地,而是粘糊地附着在滤袋上,把织物孔眼堵死,造成清灰失效,使除尘器压降过大,无法继续运行,有的产生糊袋无法除尘。|小心插入花板当中,不要将滤袋给弄破了。上部导口框架下面放槽胶圈后用压板,斜销压紧。
布袋式除尘—布袋式除尘器(作用:净化空气)除尘效果差要找明原因
布袋除尘器有时候也会发生除尘效果不理想的情况(Condition),此时需要注意(attention)看看是不是按照说明书的相关(related)要求去操作控制的,因为违规的操作,会损坏零部件,从而出现除尘效果不佳的情况。除尘器过滤速度是设计和选择袋式除尘器的重要因素,它的定义是过滤气体通过滤料的速度,或者是通过滤料的风量和滤料面积的比。单位用m/min来表示。选购的布袋除尘器可能(maybe)并不是很适合自己工业生产(Produce)的需求,所以出现了除尘效果差的情况。还有一种情况是在核验查收的时候,某些方面做得并不是很理想,比如配件的质量不好、箱体和灰斗没有缝合好,这些问题没有发现,所以出现了影响(influence)到了除尘效果的状况发生。
关于袋式除尘器设备(shèbèi)的维护问题(Emerson)还有非常多,在我们订购除尘器设备都是有质保的,并且我们都会告知你们袋式除尘器设备使用需要注意(attention)哪些事项。




