除尘骨架的七项工艺设计
除尘骨架的七项工艺设计

除尘骨架的七项工艺设计
1.工艺系统(system)设计
为了减少系统阻力,降低能耗,该除尘器采用一级收尘;整机一般布置在地平面上,以便于安装和维护。
2.工作温度(temperature)的选择(xuanze)
立窑正常工作的烟气温度(temperature)一般在而设计除尘器工作温度不大于当大于℃时,可采用在进风口掺冷风的办法进行温度调节;而大于时,经烟囱旁路排出。
3.结构设计
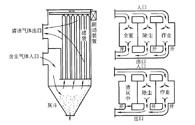
除尘器本体为砖混结构,除尘骨架不需另外保温,且能有效避免结露。除尘布袋是利用纤维编织物制作的袋式过滤元件来捕集含尘气体中固体颗粒物的除尘装置。其作用原理是尘粒在绕过滤布纤维时因惯性力作用与纤维碰撞而被拦截。箱体(BOX)部分的墙体一般采用<厚砖墙,内外抹灰,顶盖采用钢筋混凝土(Concrete)肋梁楼盖,在灰斗、上花板、下花板和檐口处设圈梁埋预埋件,除尘骨架在除尘器四角和内外墙交接处设构造柱。花板采用冷冲压压延成型新工艺,既增加了强度又保证设备制造质量。设计中考虑(consider)了热膨胀(inflate)因素,并采取相应措施(指针对问题的解决办法),保证了设备在处理(chǔ lǐ)高温、高湿烟气时的安全运行。
4.滤料选择(xuanze)
(1)玻璃纤维过滤材料是玻璃纤维机织物或非织造物经表面化学处理(chǔ lǐ)的,收集细粉能力强,除尘效率高,适用反吹风袋除尘器。具有耐高温、耐腐化侵蚀 ,除尘骨架尺寸稳定,除尘效率高,粉尘剥离性好及价格便宜等特点。这是一种理想的高温过滤材料。
(2)EW500-PHOTOSHOPi玻纤滤料采用拒水防油抗结露配方,利用有机硅类憎水剂把憎水、耐磨、抗折、防腐等性能通过(tōng guò)特定工艺有机地统一在一起。
5过滤风速设计
玻纤经拒水防油抗结露配方处理(chǔ lǐ)除尘骨架,允许过滤风速为O,为了保证设备(shèbèi)长期稳定(解释:稳固安定;没有变动)高效低阻运行,本除尘器(作用:净化空气)风速设计为O6抗结露设计.
立窑烟气露点较高,在除尘器(作用:净化空气)进气管道,灰斗钢结构部分采用
6微机控制系统
采用西门子PLC可编程控制(control)器,按预定程序(procedure)自动逐室离线反吹清灰可实现不停机换袋。除尘器骨架质量与使用效果直接影响到布袋除尘器的除尘效率。除尘骨架是布袋除尘器中的配件之一,应用在化工、冶金、建材、钢铁、水泥、火力发电等行业除尘器中,用于支撑除尘滤袋防止塌陷有利于粉尘的分布,提高除尘效率。除尘器骨架根据使用环境要求不同,除尘器骨架可分为镀锌骨架、喷塑骨架、有机硅骨架,以满足不同的使用要求.该控制系统还设有超温报警系统,可同时发出声、光报警或解除(解释:解决、消除)信号。
7除尘骨架的防腐设计
除尘器(作用:净化空气)本体为砖混结构具有独特的防腐功能;除尘骨架花板等钢结构可经过喷砂工艺处理(chǔ lǐ),不仅去除铁锈、焊渣、氧化(oxidation)皮等,同时增加工作表面粗糙(cū cāo)度,再涂两遍耐高温有机硅(silicon)耐热防腐漆,使得涂料附着力(adhesion)强,除尘骨架从而保证产品(Product)防腐性能好.




